Порошковая покраска обычно ассоциируется с металлами, но этот метод можно использовать и на полимерах, хотя и с некоторыми ухищрениями. Получаемые покрытия долговечны, приятны на вид и неплохо скрываю слоистость 3D-печатных изделий. Рассказываем, как это делается.

Метод порошковой покраски основан на нанесении красок в виде заряженных мелких частиц пигмента, связующего полимера и специальных добавок. Частицы буквально налипают на заземленное изделие, образуя тонкий, ровный слой. Затем изделие помещается в печь, где порошок плавится и образует плотное, прочное, долговечное покрытие.
Этот метод чаще всего используется для обработки металлических изделий. Порошковая покраска пластиков — более сложная задача, так как далеко не все полимеры выдерживают необходимые для спекания краски и полимерного связующего температуры. К тому же, заряженная краска наносится на токопроводящую основу, а полимеры — диэлектрики. Здесь есть несколько вариантов.

Температура полимеризации обычных эпоксидных и полиэфирных порошковых составов — порядка 160-220°C, то есть выше температуры размягчения большинства термопластов. Специально для полимеров разработаны различные составы с пониженными температурами спекания, но и они требуют достаточно тугоплавких материалов, способных выдерживать кратковременное нагревание хотя бы до 100-140°С. Такими материалами могут быть либо реактопласты, либо инженерные термопласты, например акрилонитрилбутадиенстирол (ABS), акрилонитрилстиролакрилат (ASA), полиэтилентерефталат-гликоль (PETG), поликарбонаты, полиамиды (нейлоны), полипропилены, полиэфирэфиркетоны (PEEK), полисульфоны (PSU), полиэфиримиды (PEI), а также различные композиты.
Низкотемпературные порошковые составы содержат модифицированные отвердители и катализаторы и делятся на три типа.
- Первый — полиэфирные композиции с блокированными изоцианатами, хорошо схватывающиеся с полимерными поверхностями при температуре 120-130°C. Для полного сшивания полимерного покрытия требуется нагревание продолжительностью около получаса.
- Второй — эпоксидные порошковые краски с ускоренным отверждением за счет специальных каталитических систем, активируемых нагреванием до 130-140°C. Время тепловой обработки таких покрытий — пятнадцать-двадцать минут.
- Третий — фотоотверждаемые составы, обеспечивающие наиболее щадящие условия термообработки и потому совместимые с наиболее широким спектром термопластов. Такие порошковые смеси содержат фотоинициаторы, акрилатные олигомеры и стабилизирующие добавки. Изделия нагреваются до 100-110°C — температуры плавления нанесенного порошкового красителя. Затем в течение нескольких минут, как правило не более пяти, красящий состав отверждается ультрафиолетовым излучением.

Перед покраской 3D-печатные изделия необходимо тщательно очистить от пыли, жира и других загрязнений. С этой работой хорошо справится изопропиловый спирт, обычно используемый в аналогичных целях при подготовке столиков 3D-принтеров. Само собой, процедуры механической обработки — удаление поддержек, шлифование и так далее — должны быть выполнены заранее.
Предварительное шлифование категорически рекомендуется, так как самый надежный способ сделать пластик условно электропроводным — нанести проводящий грунт, а для качественного грунтования с хорошей адгезией нужные шероховатые поверхности. В принципе, можно попробовать 3D-печать токопроводящими композитами с углеволоконными или металлическими наполнителями, но лучше все же грунтовать или хотя бы использовать комбинацию грунтования и проводящих композитов. Шлифовать следует наждачной бумагой с зернистостью P600-P800. Как вариант, изделие можно подвергнуть пескоструйной обработке частицами диаметром 50-100 мкм под давлением в пару атмосфер.

После грунтования наносится порошковая смесь. Для этого используются специальные инструменты — пневматические пистолеты, подключаемые к компрессорам и параллельно обеспечивающие электростатическую зарядку напыляемых частиц.
Метод крайне эффективен в плане минимизации отходов: напыляемые частицы не просто оседают на поверхностях, а притягиваются, так что при оптимальных режимах коэффициент переноса может достигать 95%. Даже при такой эффективности средствами защиты пренебрегать не стоит, так что обязательно надевайте респиратор. «Промахнувшийся» порошок можно собирать, просеивать и использовать заново. Для этого умельцы обычно проводят покраску над большими кусками чистого линолеума. С другой стороны, вторичный порошок лучше использовать для изделий, которым требуется защитное покрытие, но не важен внешний вид, так как нельзя исключать возможность вкрапления посторонних материалов.

После нанесения порошка изделие необходимо нагреть до указанной температуры и выдержать в течение требуемого для полного сшивания времени. Крайне желательно делать это с помощью длинноволновых инфракрасных излучателей, обеспечивающих мягкий тепловой режим, без локальных перегревов.
Если используется фотоотверждаемый состав, по достижении температуры плавления порошка производится обработка ультрафиолетовым излучением.
В зависимости от толщины покрытия и температуры можно получать либо гладкие поверхности, либо шагрень — шероховатую, бугристую фактуру, напоминающую корку апельсина. Шагрень весьма эстетична, но в зависимости от поставленной задачи может считаться дефектом: если нужна максимально гладкая поверхность, следует снизить температуру на 10-15°C и увеличить время выдержки. Остальные дефекты — неокрашенные участки или отслоение — вызываются либо недостаточной чистотой поверхностей, либо несовместимостью полимерных основ изделия, грунта и порошкового состава.

Получаемые покрытия многофункциональны — обеспечивают защиту от ультрафиолета и улучшают эстетические свойства. Что интересно, порошковая покраска может скрывать — частично или даже полностью — характерную ребристость 3D-печатных изделий. Три года тому назад специалисты нидерландской компании Signify (ранее Phillips Lighting) даже запатентовали сглаживание поверхностей деталей, получаемых методом FDM 3D-печати, с помощью порошковой покраски.

Авторы патента упоминают необходимость в проводимости и предлагают разные варианты, включая 3D-печать композитами с углеродными наполнителями или полимер-металлическими композитами, а также использование проводящего грунта, например на основе графита. Далее электростатическим пистолетом наносится порошок, затем покрытие спекается в печи.
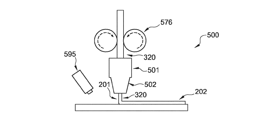
Другими словами, процесс полностью повторяет описанный выше метод. Для сокрытия ребристости и сохранения детализации авторы рекомендуют точно подбирать толщину покрытий. Особенность патента в том, что он предлагает не только метод, но и устройство модифицированного 3D-принтера, оснащенного встроенным электростатическим пистолетом.

Сразу скажем, что насколько нам известно, пока что такие гибридные 3D-принтеры никто не выпускает, и вряд ли в них есть особая потребность. Интереснее то, что изобретателям якобы удалось получить гладкие покрытия на 3D-печатных образцах из токопроводящего угленаполненного поликарбоната и полисульфона даже без предварительного грунтования, а также из чистого полиэтилентерефталат-гликоля с грунтом на основе графита. Оптимальных результатов удалось добиться, используя не очень вязкие, хорошо растекающиеся при плавлении порошковые составы.
Остались вопросы? Свяжитесь с нами, и специалисты REC будут рады предоставить подробную консультацию.




Чтобы написать отзыв нужно авторизоватся
Вход через социальные сети